Early Valve Adjusting tools

This is the place to ask questions about specific tools. Please search for other questions about your subject before you post a new one... it may already be here. Also, please include pictures if possible to make identification easier.
Forum rules
Please make sure you've read the Rules and Etiquette Page, which spells out the rules and guidelines of this forum.
Post Reply
Frank Murch
Site Admin
Posts: 247
Joined: Wed Oct 13, 2010 6:34 pm
Your Location: San Diego
Contact:

Early Valve Adjusting tools

Post by Frank Murch »

I am working on understanding Valve adjusting tools

I think the following is true

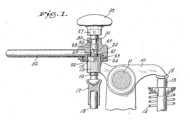
There is a patent dated on 6-30-25. It was filed in Jan 7, 1924 by Earl P. Putrow. It is a remarkably short patent and describes a tool to adjust the valves on a running ngine. The patent is assigned to ValTul Corporation - Milwaukee, WI . I know nothing about this company. I also know nothing about Earl (other than he was in Milwaukee) The patent picture is here
Patent Drawing
Patent Drawing
Patentdrawing-valve-adjusting-tool.png (114.77 KiB) Viewed 735 times
In 1927 Catalog D (page 28) a valve adjusting tool (No 21) is presented.



The picture is used again as a V-12 is 1928 Catalog E (page 24) - 1933 Catalog J page 40
1927 Catalog Drawing
1927 Catalog Drawing
1927valve-adjusting-tool.jpg (31.62 KiB) Viewed 735 times
Here are 2 actual tools
Another Early Tool
Another Early Tool
early-valve-adj-tool-2.jpg (112.01 KiB) Viewed 735 times
Early Valve Adjusting Tool
Early Valve Adjusting Tool
early-valve-adj-tool-1.jpg (93.92 KiB) Viewed 735 times





The handles do not match the drawing or each other. The knob is obviously first generation. Any idea what the handle shape means?? I see no date stamps, any way to date these??

I also have sockets, but not a full set of 3.
Post Reply

Who is online

Users browsing this forum: Ahrefs [Bot] and 132 guests